桃園手機收購
(圖/美聯社)
蘋果近日獲得一項與桃園手機收購iphone電池技術相關的新專利,將有助於提升手機的續航性能,訴求可在不增加機身體積與重量的前提下,就能塞進更大容量的電池,被外媒視為是一大突破性的創新技術。
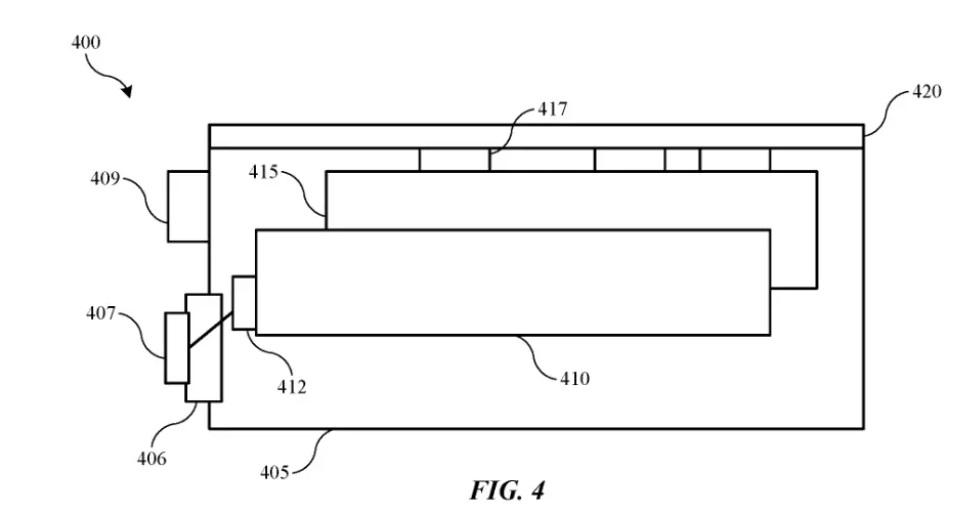
據外媒Gizchina 報導指出,該技術被命名為「Battery Cells with Tabs at Right Angles」(暫譯為「帶有直角凸片極耳的電芯」),已於3 月 26 日取得美國商標和專利局的批准。
蘋果取得電池技術新專利,文件示意圖描述凸片電芯極耳,可讓連接器朝不同方向延伸,藉此能提升電池容量。(圖翻攝Gizchina )
該專利技術文件描述提到,透過鋰電池元件的隔離膜、可彎曲摺疊的隔離薄膜以及電池元件的連接器,利用帶有凸片極耳的設計,可讓連接器朝不同方向延伸,藉此能在有限的內部空間內,經改良式的電池電芯結構,進而為電池容量提升,同時亦能大幅提高電池效率。
上述取得專利的電池創新技術,蘋果會在什麼時候導入於桃園手機收購iphone手機上,尚無從得知。
你可能也想看

▲桃園手機收購iphone SE 4傳2025年登場。(圖/MacRumors)
記者陳俐穎/綜合報導
根據韓媒ZDNet Korea 報道,京東方率先成為蘋果桃園手機收購iphone SE 4 的螢幕供應商,三星顯示因價格問題退出談判。綜合現有訊息,桃園手機收購iphone SE 4 預計將於2025 年發布,採用同桃園手機收購iphone 13、14 標準版相同的大小的6.1 吋 OLED 顯示營幕,出貨量可達1500 萬台。
先前主要有三家企業在競爭蘋果桃園手機收購iphone SE 4 的螢幕供應許可,也就是京東方、三星顯示和天馬。根據ZDNet Korea 的說法,三星顯示已於本月中旬因價格原因放棄了供應談判,主要原因是蘋果開出的價格僅有 25 美元。
三星方面之前提供的報價是 30 美元,雖然低於兩家中國廠商,但還是與蘋果的預期有差距。消息人士稱,由於價格方面的分歧,三星顯示一開始就對供應桃園手機收購iphone SE 4 螢幕興趣不大,另一方面,蘋果也希望減少桃園手機收購iphone 供應鏈對三星顯示的依賴。
而另一位競爭者天馬,雖然對打進桃園手機收購iphone SE 4 供應鏈有明確意向,但在產品品質上尚未滿足蘋果的要求。
桃園手機收購 桃園手機收購
